Mabru Power Systems
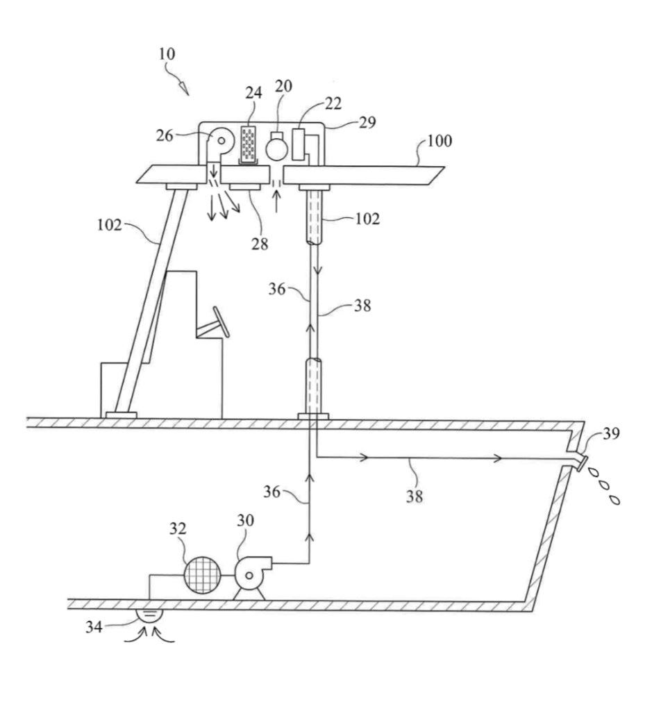
Mabru RadAir™ 12,000 BTU 12V DC Air Conditioner
Mabru RadAir™ 12,000 BTU 12V DC Air Conditioner
Precio habitual
$5,800.00 USD
Precio habitual
Precio de oferta
$5,800.00 USD
Los gastos de envío se calculan en la pantalla de pago.
Cantidad
No se pudo cargar la disponibilidad de retiro
It’s not a radar, it’s a RadAir™. Your new marine HVAC in a radar dome! 12,000 BTU / 12V DC on a rooftop.
Introducing the newly patented self-contained 12V DC Marine rooftop Air Conditioner, the RadAir™.
All of Mabru’s experience and technology innovation come together in this incredible air conditioning unit. The unit, totally enclosed in the dome with a hermetic seal, includes a military copper antimicrobial evaporator and large copper tubes for better refrigerant flow. It comes with a B30 condensing coil, heating and cooling, digital touch control, 350 GPH raw water pump, high static pressure blowers, airflow safety sensors and a composite base.

Share
